应用场景,保险等行业代理商申请为供应商角色,可以通过供应商独立后台批量导入保单报单信息,平台可以统一对提交的表单进行查询管理,供应商前端可以查看自己提交的保单。
该功能具备独立开关,如果不开启,不影响原供应商功能使用。
供应商保单功能
1,商城后台供应商启用保单,只有这里启用,供应商菜单、供应商独立后台、供应商前端管理才会显示保单功能

2,启用保单功能之后可以在供应商独立后台添加/上传保单


3,手动添加保单,设置保单信息,点击保存

4,Excel表格上传保单:下单保单模板,设置好保单信息,确认导入(可在表格中设置多条保单,同时上传),上传成功会显示总条数,成功条数,失败条数


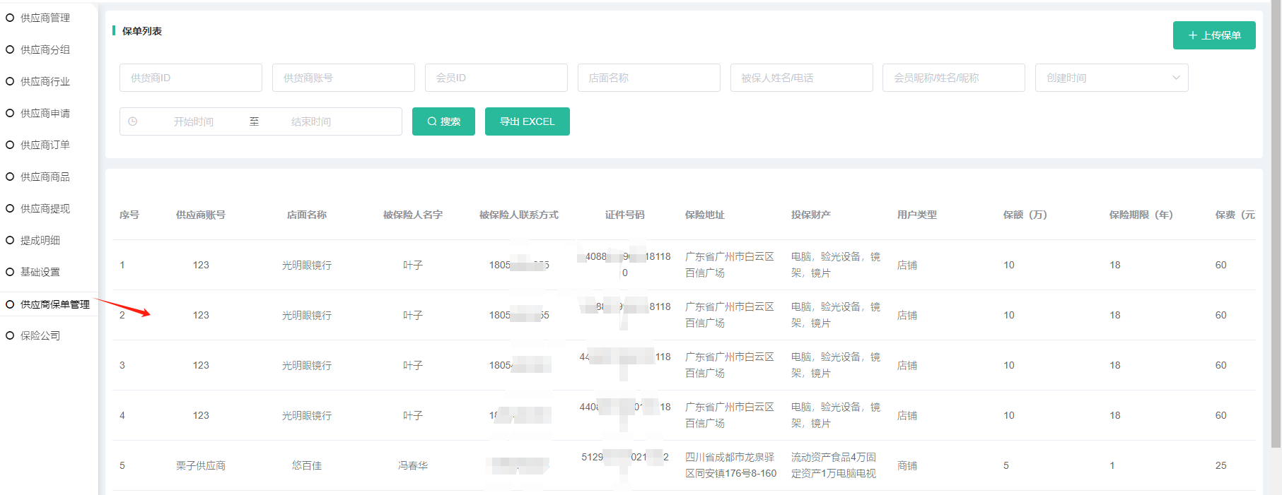
5,添加/上传好保单后供应商独立后台—保单管理就会有保单信息,供应商账号为自动获取当前公众号的账号,备注需要点击查看

6,商城后台后台和前端供应商管理处也可以看到由供应商上传的保单

前端显示:



