一、功能简介
将商城指定模块的媒体(暂只支持视频分享插件视频),调用腾讯云(https://cloud.tencent.com/)媒体处理接口,进行指定的模版处理。
以分享视频中的短视频压缩为例,原视频大小 21.9M,调用媒体处理能力压缩后大小为7.4M;
压缩前(如下图):

压缩后(如下图):

二、基础设置
1、基础设置
1)插件开关,需要开启配置好才能使用媒体处理功能;
2)媒体处理平台:默认腾讯云,使用该功能要注册好腾讯云账号;
3)secretId和secretKey获取路径:

4)系统–系统工具–HTTPS设置需要开启强制HTTPS,配置域名

腾讯云后台–右上角–访问管理–访问密钥–API密钥管理,若之前有创建获取过了的,可以直接填写之前获取的,没有的话,点击新建秘钥,获取secretId和secretKey(注意SecretKey仅支持在创建时查看,请及时保存SecretKey)

4)地域:按照自己腾讯云账号cos的地域选择,比如广州等;
5)Bucket和Url获取路径:
腾讯云搜索产品:对象储存,进入对象储存–储存桶列表–创建储存桶,所属地域按腾讯云cos地域选择,名称可自定义(支持小写字母、数字和-),访问权限按需设置,选择公有读写(默认告警和内容安全关闭即可),点击下一步然后点击保存即可;


创建好后,Bucket就是储存桶名称,复制到商城后台填写即可;
点击对应储存桶名称进入,查看概览,可获取到访问域名,即url,复制到商城后台填写即可;

2、视频分享
1)媒体处理平台:开启后视频分享的视频将自动执行媒体处理操作,不然需要手动到媒体列表同步数据;

2)视频转码模版 ID获取
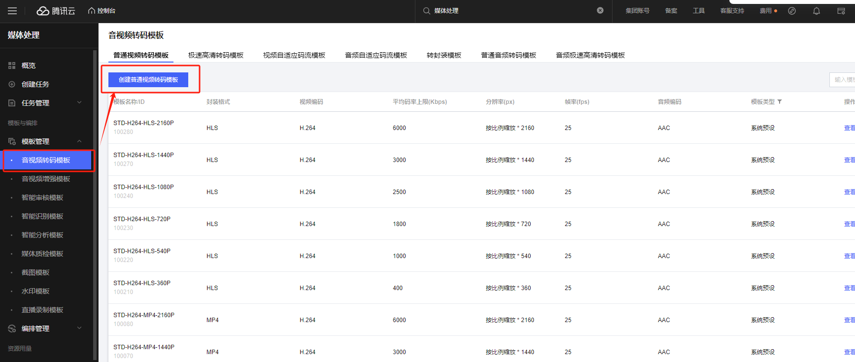
腾讯云平台搜索产品:媒体处理,进入后,概览需点击授权,按提示确认完成授权;(重要:必须授权才能正常使用)
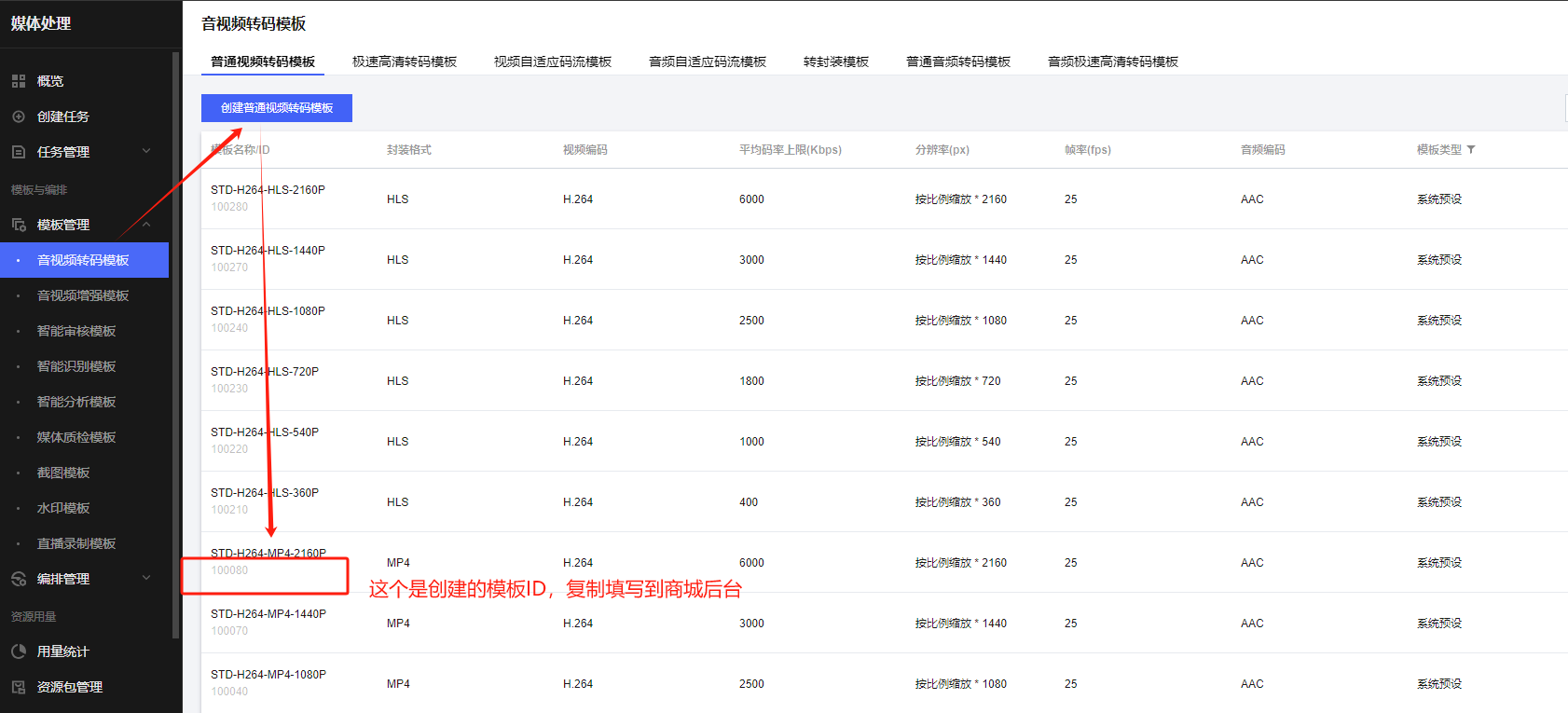
授权完成后,进入模板管理–音视频转码模板–创建普通视频转码模板;按需设置模板名称,封装格式(短视频一般MP4),其他参数默认或按需设置;创建完成后,可以看到模板ID,如图,复制填写到商城后台即可;


3)水印设置:开启后视频分享的视频将自动执行媒体处理操作,需填写好水印模版 ID;
水印模版 ID获取同样在产品:媒体处理–模板管理–水印模板–创建水印模板 ,按需设置水印模板类型,比如文字或图片水印,设置好位置尺寸,然后确认创建 ,创建好后可获取到水印模板ID,填写到商城喉后台即可;


水印设置配置好后,转码后的视频,前端观看,会有水印显示,可按需添加自己商标图片水印,或商城名称文字水印等,如图:

4)删除原视频:开启后,视频转码后删除原视频,可以减少空间占用;(视频转码后,转码后的视频会替换原视频的,原视频不需要建议可以删除,减少空间占用,不影响前端视频正常观看)
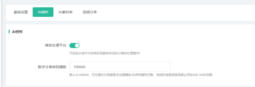
3、增加AI创作
媒体处理平台,开启后AI创作中的指定场景将自动执行媒体处理操作!
数字分身转码模板:默认100840,可在腾讯云根据需求设置模板;如使用唇形匹配,视频的高度或者宽度必须在640-2048范围!
如没有使用到AI创作功能可以忽略~

4、增加AI素材库
开启后AI素材库中的指定场景将自动执行媒体处理操作!

三、媒体列表
1)显示所有处理的视频列表,可以按媒体名称、商城媒体处理类型(暂只有视频分享)、媒体ID、时间、处理状态、链接替换状态,搜索查看对应处理的视频情况;

2)媒体内容标题为商城对应的模块内容标题(暂只有视频分享,这里标题显示为视频分享插件中发现管理对应的发现标题; 媒体 id就是对应发现管理的视频 ID)

3)同步数据,可手动同步数据,将视频数据同步到媒体处理;

4)同步完成后,列表可直接复制链接查看或使用;