概述:对接erp接口,商城自营商品通过商品条码与erp的商品匹配对应,如erp没有相关的商品,则商城商品数据同步给erp系统,匹配对应之后,商城库存erp的库存,商城产生订单后,订单同步给erp,erp发货后返回物流信息及发货状态给商城。
一、基础设置
1、平台编码、店铺编码、签名密钥、优易请求地址(每个账户单独请求地址,填写对应请求地址,这方面需联系优易)、商品库存通知地址、订单发货通知地址——需登录(优易官网:http://youyierp.800best.com/)联系优易客服购买接口后获取。注意:填写基础信息时,前后不能有空格,填写完毕后需检查下。
二、推送商品
推送商品:列表中是商城自营的商品,推送的商品一定要填商品编号、规格,不然会导致推送会失败。
多规格商品,基本信息处的商品编码条码需要填写外,同时规格里面的商品编码、商品条码也需要填写,两者缺一不可,如果只是填写其中一项,会导致推送不全从而导致后续的异常
同一个商品同规格内的编码、条码可以填写一样,但不同商品、不同规格之间编码、条码则需要填不一样的,这是推送到第三方那边显示出来的编号,用来区分商品的。编码条码可以随意自行生成填写,也可以根据商品实际的编码填写。
有两个操作按钮:
1、批量推送更新(选择勾选的商品推送到第三方)
2、一键推送同步商品(把商城自营全部未推送的商品推送到第三方)




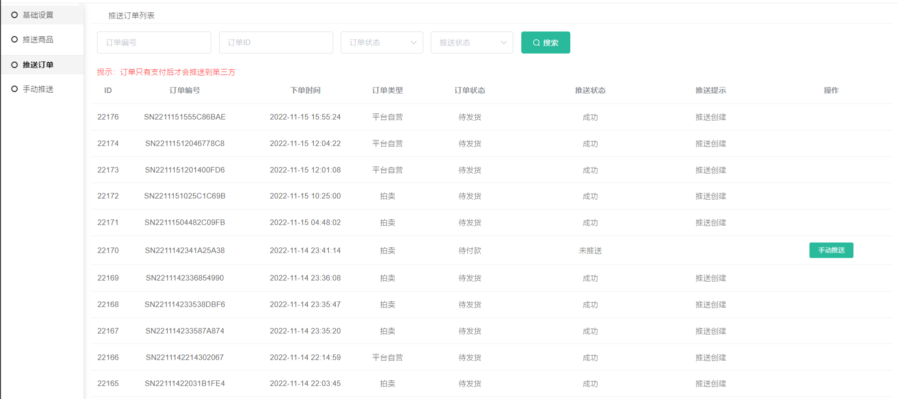
三、推送订单
只要是前端下单的商品是后台已推送的商品,推送订单列表这里就会有一条记录。
需要注意:只有订单支付了才能推送到第三方,如果订单未支付就推送在第三方那边是没有记录的,推送订单列表这里只是记录哪些订单跟第三方有关联商城的订单,操作发货/收货等还是需要到对应的订单列表(比如平台订单或者是拼团订单列表等)
四、手动推送
手动推送用于以下情况:
1、商品还未同步到优易,商城这边就有人下单了,导致订单创建就无法识别为需要推送的优易订单。可以在此手动推送
需要注意:

3、打开错误信息面板——可查看到推送失败订单信息
五、疑问答解
问题1、
回复:检查一下商品编辑–基本信息、或者是否是多规格商品,规格里面的商品编码、商品条码是否都有填写完整


问题2、
手动推送订单,提示:商品未同步无法推送
回复:
1)复制订单到订单列表搜索–进入订单对应的商品这个查看商品id,核实商品是否已经有推送了,如果是未推送该商品到优易平台那边,手动推送订单是无法推送成功的。
2)插件只针对平台自营商品下的订单才能推送,如果是插件比如是抽奖活动插件下单的订单,不属于平台自营商品下单的,则无法推送成功
问题3、
优易erp插件,推送商品成功了,但是在优易后台没有看到这件商品
回复:
目前优易那边请求的有两地址,分别是:
优易2.0http://api-youyi.800best.com/edi-web
技术有处理在插件基础设置添加了一个手动设置的栏,如果不确定使用的是哪个api地址可以和优易客服核实一下,填写对应的在后台优易API地址处即可,之后再留意看下商品是否有推送成功同步显示在优易后台


问题4、
优易erp插件—平台自营订单是自提订单,后台优易推送订单显示推送成功,但优易后台没显示
回复:推送订单时候留意订单状态,如果推送过去时候是已发货状态,优易平台那边针对平台已发货的订单是不会生成系统单的,所以导致推送成功但是优易平台那边看不到这笔订单显示。
需注意:订单配送方式选择商城自提时,核销事件选择:付款后,订单支付后会跳过发货流程,状态为待收货等待核销。
建议更改核销事件为发货后即可避免此问题出现。